Warbird Information Exchange

DISCLAIMER: The views expressed on this site are the responsibility of the poster and do not reflect the views of the management.
It is currently Tue Dec 16, 2025 2:57 am

All times are UTC - 5 hours


Classic Wings Magazine WWII Naval Aviation Research Pacific Luftwaffe Resource Center
When Hollywood Ruled The Skies - Volumes 1 through 4 by Bruce Oriss


Post new topic Reply to topic  [ 142 posts ]  Go to page Previous  1, 2, 3, 4, 5, 6, 7, 8 ... 10  Next
Author Message
PostPosted: Tue Jun 16, 2020 6:43 am 
Offline

Joined: Wed Jan 30, 2008 4:00 pm
Posts: 144
Location: Salisbury Plain England
Attachment:
AR3#21.jpg
AR3#21.jpg [ 246.46 KiB | Viewed 7271 times ]

September 1935 saw the Hafner AR III autogyro fly for the first time. It wasn't the first autogyro to fly but it was the first to fly using cyclic control of the rotor, it was the first to have collective control allowing it to perform what its builder called a 'towering take-off, ie a vertical one. The use of both cyclic and collective control made the AR III the first rotorcraft to fly successfully using the method of control now common to all helicopters. Incidentally Hafner's earlier attempt at rotary flight the Revoplane II of 1931 was an experimental helicopter that also had the combination of cyclic and collective control but lack of power (and a tail rotor) means I can't award it 'a first'.
Hafner saw the concept of the autogyro as a way to develop his ideas for helicopters free from torque reaction and post war his method of rotor control flew successfully on a number of British helicopters namely Sycamore, Belvedere, Scout/Wasp and Lynx.


Top
 Profile  
 
PostPosted: Tue Jun 16, 2020 7:48 am 
Offline
User avatar

Joined: Wed Nov 24, 2004 2:20 pm
Posts: 368
Location: UK
Noha307 wrote:
On a different subject, the first flight of a composite or parasite aircraft combination took place on 17 May 1916, when a Felixstowe Porte Baby carried a Bristol Scout.


That's a Baby? Just imagine how big it will be when it's fully grown...


Top
 Profile  
 
PostPosted: Mon Jul 20, 2020 8:16 pm 
Offline
2000+ Post Club
2000+ Post Club
User avatar

Joined: Tue Aug 28, 2012 4:48 pm
Posts: 2011
Location: Cincinnati, Ohio
Here's a few de Havilland Comet firsts courtesy of the Royal Air Force Museum:
Royal Air Force Museum wrote:
    Comet Firsts
  • [...]
  • First commercial airliner to use turbojet engines.
  • First commercial airliner to use totally hydraulically actuated controls.
  • First large commercial airliner to have glued skin panels (Redux).
  • First commercial airliner to have a highly pressurised cabin (8.25 psi).
  • First commercial airliner to use high pressure refuelling.

(Source: Royal Air Force Museum)

I somewhat covered flaps in a previous post about air brakes, but here's a few more flap firsts that I found courtesy of the Wikipedia article on flaps:
  • First airplane to use Fairey-Youngman flaps: Fairey Barracuda (?)
  • First airplane to use Gouge flaps: Short Scion[1]
  • First airplane to use Junkers flaps: Junkers G 38 or K 39 (?)
  • First airplane to use Krueger flaps: FFA P-16 or Boeing 367-80[2]
  • First airplane to use split flaps: Unknown USAAS airplane[3] (?)
  • First airplane to use Zap flaps: General Aristocrat

One first I don't know is the first airplane to use a spinner. The earliest example I can find after a brief search is the Morane-Saulnier N. Anybody have the answer?

_________________
Tri-State Warbird Museum Collections Manager & Museum Attendant

Warbird Philosophy Webmaster


Top
 Profile  
 
PostPosted: Sun Aug 09, 2020 7:22 pm 
Offline
2000+ Post Club
2000+ Post Club
User avatar

Joined: Tue Aug 28, 2012 4:48 pm
Posts: 2011
Location: Cincinnati, Ohio
The development history of winglets is similar to that of the side stick. In other words, a technology that had existed and been implemented in a few experimental roles for a long time, but was not widely adopted (outside of gliders) until years later. This means that it is worth noting aircraft that "reintroduced" them to modern usage.

A candidate for the first airplane to use winglets - or at least wingtip devices - is the Somerville-Borel Monoplane:[1]
Image
(Source: Aerofiles)

Another early usage of wingtip devices was on the Ha 137:
Image
(Source: Wikimedia Commons)

Of course, the first jet to use "Lippisch-Ohren", or "Lippisch ears", was the He 162. It was first installed on WkNr 200003.[2]

The first "modern" aircraft with winglets was a KC-135, serial number 55-3129, used by NASA in trials:[3]
Image
(Source: NASA)

The first "modern" production aircraft with winglets was the first Learjet 28, MSN 28-001:[4]
Image
(Source: NASA)

_________________
Tri-State Warbird Museum Collections Manager & Museum Attendant

Warbird Philosophy Webmaster


Top
 Profile  
 
PostPosted: Fri Aug 28, 2020 4:18 pm 
Offline
2000+ Post Club
2000+ Post Club
User avatar

Joined: Tue Aug 28, 2012 4:48 pm
Posts: 2011
Location: Cincinnati, Ohio
I mentioned qualified examples of fly-by-wire aircraft in a previous post, but the first fly-by-wire aircraft of any kind may have been the Tupolev ANT-20.[1]

One bit of surprising history I learned today is that some B-17s not only used FBW, but flew without mechanical backup! According to Technical Representative Sherman Booen:
Sherman Booen wrote:
My job in the field was to assist military personnel in maintaining the equipment, instructing air crews in the use of the C-1 in accurate bombing, and in normal auto pilot cruising. As the war progressed, a lot of my work overseas was instructing crews in the use of keeping the aircraft flying when normal control cables were severed. The servos were on the end of the cable, and the electrical wires ran along a different part of the fuselage, so if manual control cables were severed, it was sometimes possible to maintain control of the elevator, rudder, and ailerons via the C-1, providing it was intact.

Numerous aircraft and crews were saved from destruction when this situation occurred, and the crew was able to land safely. I personally witnessed several such instances.

[...]

I made a lot of test flights in Italy reference landing a B-17 on autopilot, when the control cables were disabled...It was pretty tricky, especially with a tail wheel airplane, but it worked. I was called to the control tower for several aircraft that came back with wounded, and cables destroyed...and was able to help them make a good landing.

(Source: Albert L. Pardini, The Legendary Secret Norden Bombsight, Schiffer Military History (Atglen, PA: Schiffer Publishing, 1999), 284.)

Okay, so I fudged the initial description a bit - it was unintentional and the cables were still installed, just inoperative - but it's still technically correct!

_________________
Tri-State Warbird Museum Collections Manager & Museum Attendant

Warbird Philosophy Webmaster


Top
 Profile  
 
PostPosted: Mon Nov 09, 2020 5:10 pm 
Offline
2000+ Post Club
2000+ Post Club
User avatar

Joined: Tue Aug 28, 2012 4:48 pm
Posts: 2011
Location: Cincinnati, Ohio
According to The Lore of Flight:
John W. R. Taylor, et al. wrote:
As with so many ideas which are now commonplace, the variable pitch propeller was first produced at the Royal Aircraft Factory at Farnborough. In 1916 an R.E.8 took off with a four-blade propeller capable of being set to either a fine pitch or a coarse one according to the command of the pilot. It had wooden blades, held in rotary bearings in a steel hub, and weighed about 50 lb more than the usual all-wood propeller.

Note that this is not the first use of a variable pitch propeller on an aircraft as that milestone belonged to the British Army Dirigible No 1/Nulli Secundus as noted in a previous post. However, it may be the first airplane with one - depending on when the Zeppelin-Staaken R.VI flew. The book goes on to state that:
John W. R. Taylor, et al. wrote:
In 1924 the Gloster/Hele-Shaw/Beacham propeller was patented, and this was the first constant-speed design actually to be flight tested, on a Gloster Grebe fighter in 1927.

(Source: John W. R. Taylor, ed., The Lore of Flight (New York, New York: Crescent Books, 1978), 234.)

According to the History of Technology:
Quote:
The first reliable air speed indicator was a U-tube manometer called the velometer, designed and patented by Frank Short at the Royal Aircraft Factory at Farnborough in 1912. Connection to a pitot-static head on a wing strut allowed the measuring element to be well away from the slipstream, while the indicator could be placed in front of the pilot. The velometer was manufactured by Casella and Elliott Brothers and was often supplied to military aircraft on a standard instrument panel.

(Source: Graham Hollister-Short and Frank A. J. L. James, eds., History of Technology, vol. 18 (London: Bloomsbury Academic, 1996), 99. via Stack Exchange)

I had the thought of looking into the first aircraft with an angle of attack (AoA) indicator and in the process I came across an excellent article that covered the history of AoA measurement. It pointed out leading edge stall tabs and stall warning horns were the first actual AoA indicators - albeit only in one direction. It made me realize that what I am actually after is the first example of what is traditionally thought of as AoA indicator - that is to say a vaned instrument. Luckily, the same article was able to point me in the right direction. In 1962, a company called Monitair filed a patent application for an "Angle of Attack Measuring Device". Unfortunately, determining the first aircraft to use such a device was beyond a quick Google search.

A radar altimeter, called a "terrain clearance indicator", was first tested in a United Airlines aircraft on 8 and 9 October 1938.[1][2] Unfortunately, while finding news about the event was easy, determining what the specific aircraft was has proved difficult. (In the process, I found a story that mentioned an "automatic direction finder" was tested on an American Airlines DC-3 around the same time.) While a picture on page 5 of the 25 October 1938 of the Kansas City Times shows the interior of the aircraft, but does not name it, an article on page 4 of the 10 October 1938 Daily News states that: "United Air Lines used its famous "White Tail" Boeing flying laboratory for the test flight." Although the specific model is not stated, based on the aforementioned picture it seems to be a Boeing 247.

EDIT (21-08-02): An article in the January 1939 issue of Popular Aviation provides a bit more detail about the invention of both the radar altimeter and the automatic direction finder.


Attachments:
Kansas City Star 25 October 1938 Page 5.png
Kansas City Star 25 October 1938 Page 5.png [ 404.23 KiB | Viewed 6971 times ]

_________________
Tri-State Warbird Museum Collections Manager & Museum Attendant

Warbird Philosophy Webmaster


Last edited by Noha307 on Mon Aug 02, 2021 9:47 pm, edited 2 times in total.
Top
 Profile  
 
PostPosted: Wed Nov 11, 2020 5:35 pm 
Offline
2000+ Post Club
2000+ Post Club
User avatar

Joined: Tue Aug 28, 2012 4:48 pm
Posts: 2011
Location: Cincinnati, Ohio
According to a photo caption in U.S. Navy Dive and Torpedo Bombers:
J. V. Mizrahi wrote:
Also developed from a John Northrop design [the] XTBD-1 (left) was [the] first aircraft with hydraulically-powered folding wings, reducing [the] span to 25 ft. 8 in.

(Source: J. V. Mizrahi, U.S. Navy Dive and Torpedo Bombers (Sentry Books, 1967), 33.)

_________________
Tri-State Warbird Museum Collections Manager & Museum Attendant

Warbird Philosophy Webmaster


Top
 Profile  
 
PostPosted: Sun Jan 17, 2021 8:34 pm 
Offline
2000+ Post Club
2000+ Post Club
User avatar

Joined: Tue Aug 28, 2012 4:48 pm
Posts: 2011
Location: Cincinnati, Ohio
Another first I recently thought of was the first aircraft with a rotary bomb bay. In the process of trying to find the answer, I learned there is a distinction between a "rotary bomb bay" or "rotary bomb bay door" and a "rotary bomb bay dispenser".

The first aircraft with a rotary bomb bay door was apparently the XB-51.[1] Patent number 2,634,656 for the "Rotary Bomb Bay Door with Bomb Releasing Means" was filed on 20 November 1950:
Attachment:
2,634,656 - Rotary Bomb Bay Door with Bomb Releasing Means.png
2,634,656 - Rotary Bomb Bay Door with Bomb Releasing Means.png [ 187.71 KiB | Viewed 6818 times ]

(Source: United States Patent and Trademark Office)

The concept for a rotary bomb bay dispenser originates in the late 1930s, when one was proposed for the Boulton-Paul P.79:
Image
(Source: Secret Projects)

The B-52 seems to have used a rotary dispenser as early as 1971, when the AGM-69 SRAM was introduced.[2] (It is worth noting this was not the "Common Strategic Rotary Launcher" which only entered service after 1983.[3])

Apparently, in its early days the concept was popular as an application for launching rockets, not bombs, as many early patents for the concept mention rockets by name:
  • Apparatus for Launching Rockets from Airplanes (2,440,723) filed by United Shoe Machinery Corporation on 6 June 1945:
    Attachment:
    2,440,723 - Apparatus for Launching Rockets from Airplanes.png
    2,440,723 - Apparatus for Launching Rockets from Airplanes.png [ 182.81 KiB | Viewed 6818 times ]

    (Source: United States Patent and Trademark Office)
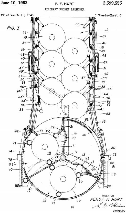
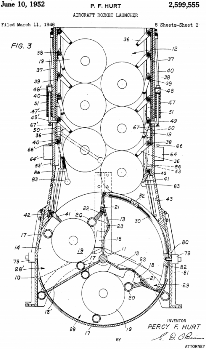
  • Aircraft Rocket Launcher (2,599,555) filed by the Department of the Navy on 11 March 1946:
    Attachment:
    2,599,555 - Aircraft Rocket Launcher.png
    2,599,555 - Aircraft Rocket Launcher.png [ 139.89 KiB | Viewed 6818 times ]

    (Source: United States Patent and Trademark Office)
  • Cylindrical Object Ejecting Apparatus (2,646,786) filed by Saunders-Roe Limited on 11 October 1950:
    Attachment:
    2,646,786 - Cylindrical Object Ejecting Apparatus.png
    2,646,786 - Cylindrical Object Ejecting Apparatus.png [ 121.88 KiB | Viewed 6818 times ]

    (Source: United States Patent and Trademark Office)
  • Mechanism for Ejecting Rockets from an Aircraft (2,826,120) filed by Chance Vought Aircraft on 29 July 1952:
    Attachment:
    2,826,120 - Mechanism for Ejecting Rockets from an Aircraft.png
    2,826,120 - Mechanism for Ejecting Rockets from an Aircraft.png [ 161.87 KiB | Viewed 6818 times ]

    (Source: United States Patent and Trademark Office)

I have to wonder if the Navy patent may have been related to the 5-inch rocket launcher that was tested in the nose of PBJ-1J, BuNo 35849, at China Lake in the late 1940s:
Image
(Source: Google Books)

EDIT (22-03-16): More pictures of the PBJ with the 5-inch rocket launcher - including a good, close-up shot of the mounting - were posted in another thread.

EDIT (23-11-04): In a summary of the claims section of the patent, the purpose of the rotary bomb bay door is described in the book The Martin XB-51 by Scott Libis:
Scott Libis wrote:
In what was thought to be the answer to high level, high speed bombing stability, Martin engineers Werner Buchal and Albert Woolens fitted the XB-51 with a revolutionary new rotating bomb-bay door. Internally-stored bombs or rockets would be mounted to the door itself, then prior to reaching the target the door would be rotated 180 degrees open and locked into position. This advance meant that the aircraft did not have to slow down to open the bomb-bay doors, as the gap between the fuselage and the door was only momentary. Conventional bomb-bay doors remain open for the entire bomb run, generating considerable buffeting, which in turn reduces stability and bombing accuracy. By maintaining maximum speed[,] the aircraft's vulnerability to enemy fighters would be greatly minimized. Another advantage was that spare rotating bomb-bays could be pre-loaded off the aircraft, and be ready for quicker mission turnaround times (much like a speed-loader for a revolver).

(Source: Scott Libis, The Martin XB-51, Air Force Legends 201 (Simi Valley, California: Steve Ginter, 1998), 9-10.)

It was noted during World War II, that enemy fighters would wait for the bombers to open their bomb bays, as it meant they were on the final approach for the bomb run and therefore could not maneuver to avoid incoming fire. (Although I can't find it at the moment, there was a magazine advertisement for the company that designed a faster bomb bay door motor that explained the whole situation.) So, not having an open bomb bay offers a benefit in that regard as well.

The previous solution for the airflow disturbance problem was a perforated plate or spoiler that extended down in front of the bomb bay when the doors were open. Such devices were used on the A-26 and even the He 111.[4][5] Even some modern aircraft such as the B-2, F-111, F-117 and Tu-160 use them.[6]

The idea of a separate portion of the aircraft that could be loaded on the ground was popular around at the time, as evidenced by the "Speedpak" installed on Constellations or even the XC-120 which was entirely designed around the concept.[7] Although impractical, like the idea of ejection seats in an airliner, it has remained in the popular imagination to this day.[8] (However, it could be argued that the one successful implementation - although not detachable - has been the cargo pods seen on Cessna 208s.)

Finally, the concept also reminds a bit of the way that China's J20 has arms that hold the missiles outside after the missile bay doors close to maintain stealth.[9]

_________________
Tri-State Warbird Museum Collections Manager & Museum Attendant

Warbird Philosophy Webmaster


Last edited by Noha307 on Sat Nov 04, 2023 1:32 pm, edited 6 times in total.

Top
 Profile  
 
PostPosted: Sun Jan 17, 2021 8:55 pm 
Offline
2000+ Post Club
2000+ Post Club
User avatar

Joined: Tue Aug 28, 2012 4:48 pm
Posts: 2011
Location: Cincinnati, Ohio
A few more related or potentially related patents:
  • Shell Feeding Mechanism for Rocket Guns (2,440,634) filed by General Motors Corporation on 14 October 1943:
    Attachment:
    2,440,634 - Shell Feeding Mechanism for Rocket Guns.png
    2,440,634 - Shell Feeding Mechanism for Rocket Guns.png [ 199.57 KiB | Viewed 6817 times ]

    (Source: United States Patent and Trademark Office)
  • Rocket Launcher (2,459,314) filed by United Shoe Machinery Corporation on 15 July 1946:
    Attachment:
    2,459,314 - Rocket Launcher.png
    2,459,314 - Rocket Launcher.png [ 160.6 KiB | Viewed 6817 times ]

    (Source: United States Patent and Trademark Office)
  • Automatic Chamber Revolving Rocket Launcher (2,587,672) filed by William L. Whitson on 18 August 1945:
    Attachment:
    2,587,672 - Automatic Revolving Chamber Rocket Launcher.png
    2,587,672 - Automatic Revolving Chamber Rocket Launcher.png [ 112.43 KiB | Viewed 6817 times ]

    (Source: United States Patent and Trademark Office)
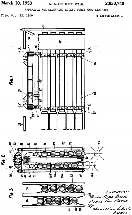
  • Apparatus for Launching Rocket Bombs from Aircraft (2,630,740) filed by Robert Roger Aime on 22 October 1949:
    Attachment:
    2,630,740 - Apparatus for Launching Rockets Bombs from Aircraft.png
    2,630,740 - Apparatus for Launching Rockets Bombs from Aircraft.png [ 121.02 KiB | Viewed 6817 times ]

    (Source: United States Patent and Trademark Office)

EDIT (23-06-04): Thanks to a comment on another forum, I learned that apparently the Germans tried something very similar on the Me 410:
Image
(Source: Asisbiz)
Image
(Source: Deutsche Geschichte 1919 - 1945)

_________________
Tri-State Warbird Museum Collections Manager & Museum Attendant

Warbird Philosophy Webmaster


Last edited by Noha307 on Sun Jun 04, 2023 4:01 pm, edited 1 time in total.

Top
 Profile  
 
PostPosted: Sun Jan 24, 2021 7:28 pm 
Offline
2000+ Post Club
2000+ Post Club
User avatar

Joined: Tue Aug 28, 2012 4:48 pm
Posts: 2011
Location: Cincinnati, Ohio
A couple of pictures to illustrate the rotary bomb bay door on the XB-51:

With eight 500 pound bombs:
Image
(Source: Defense Media Network)

Six 750 pound bombs being inspected by a Martin technician. Also, note the flap angle lines (which are coincidentally relevant to a question I asked in a recent thread):
[Link to Oversize Image]
(Source: CodeOne Magazine via WW2Aircraft.net)

Countermeasures such as chaff and flares were touched on in a previous post, but I realized I hadn't looked into jamming. Determining the first electronic-warfare aircraft can be difficult - partially because the line between dedicated jamming platform and aircraft with an ancillary jamming capability is blurred. For example, apparently many Lancasters equipped with jamming equipment retained their bombing capability.

The first purpose built aircraft-based jamming system appears to be Airborne Cigar (ABC), first tested and deployed on Lancasters in September 1943.[1] As far as tying it down to a specific airframe, a different source seems to suggest that the first aircraft to test it was also the first one to use it operationally, as it mentions that it was lost on the night following a September 22 raid. (Other sources state that the first mission was on 7/8 October.)[2] So, the loss records for September 23/24 for No. 101 squadron should have the answer.

The first use of chaff seems to predate ABC by a couple months (July vs. September 1943), but since this is less of a "system" the aircraft was equipped with (i.e. it seems that it required little to no modification of the airframe) I have chosen to ignore it. Both of these seem to have been predated (1942?) by the "Tinsel" system, but I have also discounted this, since it apparently used otherwise standard radio equipment. (It was supposedly barely more than tuning to the enemy's radio band and holding the microphone up to the engine.)

Another way to answer this question is to ask: What was the first aircraft to carry jamming pods? According to a display at the National Electronics Museum, the AN/ALQ-71 was the "first active countermeasure pod designed for Tactical Fighting aircraft". While the multitude of qualifiers make it questionable whether it was the overall first, it does offer a starting point. (The AN/ALQ-71 was a "[r]edesignation of the QRC-160A-1".) The original version of the QRC-160 was tested on the F-100D and F-105 "by the end of 1963".[3]

Naturally, thinking about jamming pods also made me wonder about targeting pods as well. It is worth noting that targeting pods can be broken down into laser trackers, laser designators, FLIR, and radar homing categories. Apparently, there was a proliferation of targeting pods during the Vietnam War as the USAF tried to pin down the new idea of remote sensing. So, once again, determining what was first is difficult. The AN/AVQ-10 Pave Knife laser designator is a candidate, but its immediate predecessor, the Trails, Roads, Interdiction, Multi-Sensor may have been the first true targeting pod. The pod was eventually deployed on the A-6C.[4] However, it was initially tested on four AP-2Hs: BuNos 135620, 145902, 148337 and 148353.[5]

The pod on AP-2H, 135620, on display at the Pima Air & Space Museum:
[Link to Oversize Image]
(Source: Prime Portal)

_________________
Tri-State Warbird Museum Collections Manager & Museum Attendant

Warbird Philosophy Webmaster


Top
 Profile  
 
PostPosted: Mon Feb 01, 2021 10:16 pm 
Offline
2000+ Post Club
2000+ Post Club
User avatar

Joined: Tue Aug 28, 2012 4:48 pm
Posts: 2011
Location: Cincinnati, Ohio
The first airplane to have a ducted spinner is a very close race. A modified A-17A (36-184) tested by NACA, the Fw 190 V1, and the Me 209 V4 all used ducted spinners around 1939.[1] The Fw 190 V1 first flew on 1 June 1939, so that date is firmly established.
Image
(Source: AirPigz)

The A-17 was supposedly in use by NACA by 1939, but the caption for a photo depicting the A-17 with the wing root ducts installed states it was taken 3 April 1940 and the ducted spinner was supposedly installed after the wing root ducts.[2][3]
Image
(Source: National Museum of the United States Air Force)

Unless the ducted spinner was not installed from the start, the winner appears to be the Me 209 V4, which first flew on 12 May 1939.[4]

EDIT (24-05-06): More information on NACA testing with ducted spinners can be found in reports titled Development of Cowling for Long-nose Air-cooled Engine in the NACA Full-scale Wind Tunnel and Review of Flight Tests of NACA C and D Cowlings on the XP-42 Airplane.

_________________
Tri-State Warbird Museum Collections Manager & Museum Attendant

Warbird Philosophy Webmaster


Last edited by Noha307 on Mon May 06, 2024 6:29 pm, edited 1 time in total.

Top
 Profile  
 
PostPosted: Fri Feb 05, 2021 1:03 am 
Offline
2000+ Post Club
2000+ Post Club
User avatar

Joined: Tue Aug 28, 2012 4:48 pm
Posts: 2011
Location: Cincinnati, Ohio
So, in a possible correction to a previous post, the first infrared search and track system may have predated the Century series by about 20 years.

The Germans did something I'm not sure has been tried before or since: active IRST. Apparently, during World War II they trialed a system called "Spanner Anlage" on Do 17s and Bf 110s. (I found another source that states they were later used on Ju 88s as well.[1]) Only 15 sets were built, as they were apparently next to useless.[2] The equipment included a scope, or "Q-Rohr Tube", mounted in the windscreen and an infrared searchlight either in the nose (on Do 17s) or a undernose pod (on Bf 110s).[3]
Image
(Source: WW2Aircraft.net)

Image
(Source: WW2Aircraft.net)

A later, passive system, the FuG 280 "Kiel Z", was apparently tested towards the end of the war.[4]

_________________
Tri-State Warbird Museum Collections Manager & Museum Attendant

Warbird Philosophy Webmaster


Top
 Profile  
 
PostPosted: Sat Mar 06, 2021 10:28 pm 
Offline
2000+ Post Club
2000+ Post Club
User avatar

Joined: Tue Aug 28, 2012 4:48 pm
Posts: 2011
Location: Cincinnati, Ohio
In the early days of aviation, there were a multitude of fabric coatings being experimented with, so nailing down the first one is difficult. However, the first aircraft true aircraft dope, as we think of it today, was probably cellulose acetate. The first instance of cellulose acetate was may have been a French product called "Emallite" - which appears to have beaten out the British "Cellon" by about a year. (There seems to have been a good bit of hand wringing about this.[1][2]) In 1911, it was noted as being used on a Deperdussin monoplane.[3] (As a final note, an excellent comparison of early aircraft dopes can be found in a paper on the the conservation of doped-fabric aircraft at the Science Museum.)

As noted previously, the first aircraft to use a radio is muddled. However, in a similar solution to the same problem above, it is worth noting that the SCR-68 was one of the first radios designed for use in aircraft.

In another case of a concept ahead of its time, a rotary gun for aircraft called the Fokker-Leimberger was developed during World War I. There is even a claim that a competing Siemens design achieved a kill.[4] The first modern reuse of such a weapon was apparently a test of General Electric's .60 caliber T45 Model A on an F-94.[5] The first operational installation of a rotary gun, the M61, was on the F-104. The first F-104 to carry it was the was an XF-104, 53-7787. At that point, it still carried the prototype designation T171.[6]

The use of radio direction finding has been touched on previously. However, a slightly different question is the first aircraft to use a radio range. In 1923, the Army Air Service tested a station at McCook Field. The airplane used was a "De Havilland 4-B" - aka a DH-4B.[7] The first commercial use of the system was in 1926, when it was installed at Ford Airport. (Interestingly, the building and ground equipment used in these experiments still exists and is on display at the The Henry Ford Museum.) However, before the patent application was filed, the U.S. Army flew the Atlantic-Fokker C-2 Bird of Paradise to Hawaii using the technology.[8] (A more detailed history of the technology can be found on the excellent website Flying the Beams.)

_________________
Tri-State Warbird Museum Collections Manager & Museum Attendant

Warbird Philosophy Webmaster


Top
 Profile  
 
PostPosted: Sun Apr 04, 2021 8:54 pm 
Offline
2000+ Post Club
2000+ Post Club
User avatar

Joined: Tue Aug 28, 2012 4:48 pm
Posts: 2011
Location: Cincinnati, Ohio
A patent for tundra tires was filed by Alvin J. Musselman in 1929:
Attachment:
1,877,360 - Pneumatic Wheel.png
1,877,360 - Pneumatic Wheel.png [ 196.02 KiB | Viewed 6355 times ]

(Source: United States Patent and Trademark Office)

At the time, he was working for Goodyear, having been employed there since 1928 when he "walked in" with his design. The company would go on to market it as the "Airwheel". The book The House of Goodyear goes on to state that "[t]he company bought two airplanes, put the tire on test". Unfortunately, it does not state what model the airplanes were.

However, the first airplane "on the Pacific Coast" to be equipped with the tires was the Great Lakes T-2-1A, NR842K, "Texaco No. 6" flown by Larry Cooper. It apparently arrived along with a delivery of first production batch by the Goodyear blimp Volunteer to Sanders Air Service at Clover Field in Santa Monica on 5 October 1929:[1][2][3][4][5]
Attachment:
Los Angeles Times 20 October 1929 Page 4.png
Los Angeles Times 20 October 1929 Page 4.png [ 583.78 KiB | Viewed 6355 times ]

(Source: Newspapers.com)

The Sikorsky S-29-A was "one of the first [emphasis added] aircraft with an airstair door" according to Johan Visschedijk:
Image
(Source: All the World's Rotorcraft)

As an aside, the term "Airstair" was in use as early as 1910, when it was vaguely defined as "[a] stairway by which [people coming in aircraft] descend".[6]

Finally, while on the subject of boarding and deboarding aircraft, Marnix Groot of AirportHistory.org delivered an excellent history of passenger boarding bridges at the Aviation Cultures conference last weekend that would fit right in with this thread.

EDIT (21-05-31): The applicable patent for the S-29 was apparently Aircraft Including Swinging Stair Structure for Same - 1,839,808.

_________________
Tri-State Warbird Museum Collections Manager & Museum Attendant

Warbird Philosophy Webmaster


Last edited by Noha307 on Mon May 31, 2021 10:12 pm, edited 2 times in total.

Top
 Profile  
 
PostPosted: Wed Apr 07, 2021 9:51 am 
Offline
2000+ Post Club
2000+ Post Club
User avatar

Joined: Fri Apr 30, 2004 8:11 am
Posts: 2397
Location: Montreal, Quebec, Canada
Such a great diversity of info!!!

Tks all for sharing!!!!!!!!!!!


Top
 Profile  
 
Display posts from previous:  Sort by  
Post new topic Reply to topic  [ 142 posts ]  Go to page Previous  1, 2, 3, 4, 5, 6, 7, 8 ... 10  Next

All times are UTC - 5 hours


Who is online

Users browsing this forum: Google [Bot] and 76 guests


You cannot post new topics in this forum
You cannot reply to topics in this forum
You cannot edit your posts in this forum
You cannot delete your posts in this forum
You cannot post attachments in this forum

Search for:
Jump to:  
Powered by phpBB® Forum Software © phpBB Group